https://www.watesi.com/huichuan/callback/pub/uc?pt=u c&time={UX_TS}&callback={CALLBACK_URL}&account_id={ACID}& group_id={GID}&ad_id={AID}&c_id={CID}&ua={UA}&os={OS_ID}&i p={IP}&imei_sum={IMEI_SUM}&oaid={OAID}
首页 产品中心 球阀系列 气动球阀

产品中心

联系方式 Contact Us
电话:4008-200-182 座机:021-69592222 邮箱:sales@watesi.com 总部地址:上海市西郊黄渡工业园区春浓路765号
气动三片式对焊球阀WR-50060
>
<
气动三片式对焊球阀WR-50060
气动三片式对焊球阀WR-50060

公称压力:1.6-6.4MPA
适用温度范围:-20~185℃
适用介质:水、油、气及某些腐蚀性流体(W.O.G)
对焊标准(BW):GB/T1224、ASMEB16.25

全国服务热线:4008-200-182

在线咨询 资料下载

与其它阀类相比具有以下优点:

1、 球阀是所有类中流阻最小的一种可以根据不同介质流量进行缩径,其流体阻力也相当小。

2、 球阀开关迅速方便,只要阀杆转动90°就能完成全开或全关动作,从而实现快速启闭。气动球阀通常配置各种附件,比如电磁阀、气源处理三联件、限位开关、定位器等,以实现就地控制和远距离集中控制。气动调节球阀采用角行程气缸和电气阀门定位器配套,通过输入4-20mADC信号和气源即可控制运行,并能实现对压力、流量、温度、液位等参数的调节。

3、采用全通径设计,流体压力损失小,阀座磨损小,密封优良,使用寿命长,具有极优的切断性能,适用于各种液体、气体等流体的切断、输送控制。

4 球阀密封可靠,球启闭时只需通过执行器做旋转运动,阀与其它接触部位的摩擦较小,不易被破坏。球阀的启闭与自动化装置配套使用,更容易实现自动化控制快速启闭。

5 通道平整光滑,不易沉积介质,便于管路清洁

 

标准规格

公称通径DN

15

20

25

32

40

50

65

80

100

流量系数(Kv

25.7

50

93.4

170

250

476

880

1290

2280

可调动作范围

0-90º

允许压差P

公称压力

泄漏量

软密封阀座符合ANSI B16.104 VI级

环境温度

-20~60

基本误差

±2.5%

回差

±2.5%

死区

1%

可调范围

1001

 

性能参数

三片式对焊球阀WR-50060

 

 

 

 

压力等级

PN1.6~6.4MPA

连接方式

对焊

连接标准

HG/T20592-2009;HG/T20615-2009;GB/T9113-2010;

材料

WCB、CF8、CF8M

操作温度

-29ºC~+185ºC

填料

柔性石墨、聚四氟乙烯V型填料

流量特性

快开特性

密封材料

聚四氟乙烯PTFEPPL

 

 

 

 

动角行程

WDR/WSC系列气动执行机构

  

0.4~0.8 MPA

信号输入

输入4~20mA

环境温度

-20~+60

气动形式: 

单作用/双作用

 

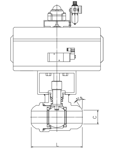
外形尺寸

image.png 

主要外型和连接尺寸

通径

DN

外形尺寸

PN16  连接尺寸

IN

L

C

6

1/4

68

9.2

10

3/8

68

13.2

15

1/2

72

18.2

20

3/4

85

23.2

25

1

95

28.2

32

1-1/4

110

35.2

40

1-1/2

130

43.2

50

2

145

53.2

65

2-1/2

185

68.2

80

3

210

83.2

100

4

268

103.2

 

注意事项

1)必须先查明球阀上、下游管道确已卸除压力后,才能进行拆卸分解操作。

2)清洗剂应与球阀中的橡胶件、塑料件、金属件及工作介质(例如燃气)等均相容。工作介质为燃气时,可用汽油清洗金属零件。非金属零件用纯净水或酒精清洗。

3)分解下来的每单个球阀零件可以用浸洗方式清洗。尚留有未分解下来的非金属件的金属件可采用干净的细洁的浸渍有清洗剂的绸布擦洗。清洗时须去除一切粘附在壁面上的油脂、污垢、积胶、灰尘等。

4)球阀分解及再装配时必须小心防止损伤零件的密封面,特别是非金属零件,取出O型圈时宜使用专用工具。

5)清洗后需待被洗壁面清洗剂挥发后进行装配,但不得长时间搁置,否则会生锈、被灰尘污染。

6)使用润滑脂润滑。润滑脂应与球阀金属材料、橡胶件、塑料件及工作介质均相容。密封件安装槽的表面上涂一薄层润滑脂,在橡胶密封件上涂一薄层润滑脂,阀杆的密封面及摩擦面上涂一薄层润滑脂。

7)装配时应不允许有金属碎屑、纤维、油脂(规定使用的除外)灰尘及其它杂质、异物等污染、粘附或停留在零件表面上或进入内腔。

 

维护保养

1)每半年检查阀门的密封性,如果有内漏,按内漏处理程序进行处理。

2)对很少活动的阀门,每年最少活动次,同时注入适量的润滑脂,这样做可以避免球体和阀座胶合,同时也可以避免球体活动时地干磨,保护阀座和球体。

3)入冬前对球阀进行全面维护和保养,重点要排掉阀腔内和执行机构内的水,避免冬天冻结,影响正常功能。

 

故障处理

一,球阀内漏

1早期注入的密封脂变硬2密封面划伤3阀座与球体间有杂物4关不到位

排除方法:1清洗密封面和阀座后缓慢注入密封脂2更换阀座3清洗阀门内腔4顺时针拧紧手柄或手轮

二,阀杆外漏

长时间磨损老化。排除方法:缓慢注入密封脂更换密封填料

, 气动部件不动作:

1. 阀门内有异物卡住,造成转矩过大2.气路故障;

排除方法:1.就应及时排除阀内异物,保持清洁;2.检查气动定位器、减压阀、过滤器、接头管路,看配件是否损坏、失灵和漏气。


QQ客服 服务热线
服务热线
4008-200-182
微信询价
在线客服